Bıçaklı Drenaj Dalgıç Pompa, Parçalayıcı Bıçaklı

1. Bıçaklı Drenaj Dalgıç Pompaların İşlevi ve Özellikleri

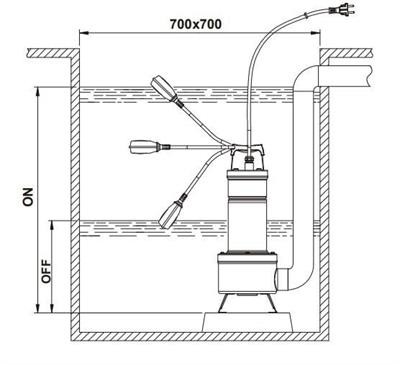
Bıçaklı drenaj dalgıç pompalar, atık suyun içindeki katı maddeleri parçalayabilen özel bıçaklarla donatılmış pompalardır. Bu bıçaklar, atık suyun içindeki katı materyalleri önceden parçalayarak pompalama işlemini kolaylaştırır.

2. Parçalayıcı Bıçaklı Drenaj Dalgıç Pompaların Avantajları

2.1 Atık Malzemelerin Parçalanması ve Taşınması: Bu tip pompalar, tuvalet kağıdı, lifler, plastik parçalar gibi katı atık malzemeleri parçalayarak daha küçük parçalara ayırır. Bu sayede, atık suyun daha kolay ve etkin bir şekilde pompalanmasını sağlarlar.

2.2 Engellerle Başa Çıkma Yeteneği: Bıçaklı ve parçalayıcı özellikleri sayesinde, atık su sistemlerinde oluşabilen tıkanıklıkları ve engelleri aşabilme kabiliyetine sahiptirler. Bu özellikleri, sistemdeki akışın düzenli olmasını sağlar.

3. Kullanım Alanları ve Verimlilik

3.1 Evsel ve Ticari Kullanım: Evlerdeki atık su sistemleri ile beraber sıkça tercih edilirler. Mutfaklardaki lavabo, banyo ve tuvaletlerde kullanılan bu pompalar, evsel atık suyun yönetimini kolaylaştırır.

3.2 Endüstriyel Uygulamalar: Fabrikalar, oteller, hastaneler gibi endüstriyel alanlarda da yaygın olarak kullanılırlar. Büyük miktarlarda atık suyun etkin bir şekilde yönetilmesini sağlarlar.

4. Bakım ve Güvenilirlik

Bu tür drenaj dalgıç pompaların düzenli bakımı, uzun ömürlü ve etkili çalışmalarını sağlar. Bıçaklar ve parçalayıcı mekanizmaların düzenli temizliği, pompanın verimliliğini artırır ve tıkanıklık riskini azaltır. Ayrıca, sağlam yapıları ve dayanıklı malzemelerden üretilmiş olmaları, güvenilir bir atık yönetimi sağlar.

Bıçaklı ve parçalayıcı drenaj dalgıç pompalar, atık suyun içindeki katı maddeleri etkin bir şekilde parçalayarak ve pompalayarak atık yönetiminde önemli bir rol oynarlar. Özellikle tıkanıklık riski bulunan sistemlerde ve büyük miktarlarda atık suyun olduğu yerlerde tercih edilerek, atık suyun sorunsuz bir şekilde yönetilmesini sağlarlar.

 

cultureSettings.RegionId: 0 cultureSettings.LanguageCode: TR
Çerez Kullanımı

Sizlere en iyi alışveriş deneyimini sunabilmek adına sitemizde çerezler(cookies) kullanmaktayız. Detaylı bilgi için Kvkk sözleşmesini inceleyebilirsiniz.